Podnośnik do włazów typu „Kängurulifter 160” - „Kangur 160”
Podnośnik „Kangur 160” jest nowością na rynku. Służy do bezpiecznego podnoszenia włazów i krat ściekowych na sieciach kanalizacyjnych. Urządzenie to pozwala na przetransportowanie i ponowne osadzenie podnoszonego elementu.
Jego prostota pozwala na komfortową, bezpieczną i nie obciążającą zdrowie pracę. Umożliwia wykorzystanie minimalnej siły pracownika podczas podnoszenia włazu lub kratki ściekowej. Urządzenie nadaje się dla każdego rodzaju pokryw i kratek ściekowych. Stabilna konstrukcja i rozciągany uchwyt pozwalają na wykorzystanie dużej siły i skutecznej pracy tego urządzenia. „Kangur 160” wykonany jest ze stali uszlachetnionej, co daje dużą wytrzymałość i trwałość tego urządzenia na odkształcanie i pękanie. Przy prawidłowej obsłudze i prawidłowym użytkowaniu będzie służyło przez wiele lat. Zaletą dodatkową jest mała waga i nie wymaga jakichkolwiek przeglądów.
Podnośnik posiada wymagane dopuszczenia dozoru technicznego do jego eksploracji.
Podnośnik typu „Kangur 160” służy jako urządzenie pomocnicze do podnoszenia i ponownego osadzania wszelkiego rodzaju włazów do studzienek kanalizacyjnych i krat ściekowych.
Dane techniczne:
| Udźwig: | Do 100 kg |
| Materiał: | Stal szlachetna X5 CrNi 189 |
| Ciężar: | 8 kg |
| Długość uchwytu złożonego: | 102 cm |
| Długość uchwytu rozłożonego: | 170 cm |
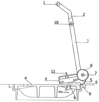
Osadzenie urządzenia we włazie
- Zabezpieczenie (10) ramienia dźwigni (2) odbezpieczyć rozciągnąć i ponownie zabezpieczyć
- Stojąc na włazie studzienki (a) trzymając jedną ręką za uchwyt (1) a drugą w okolicy zabezpieczenia (10) urządzenie trzymać pod skosem. Teraz hak (11) wisi pionowo w płozach (4) prowadzenia haka.
- Następnie wprowadzamy hak (4) pionowo w otwór pokrywy włazu (b).
- Urządzenie ustawiamy tak, aby końcówka – brzeg obudowy pokrywy (9) płozy urządzenia (5) znajdowała się poza płozami urządzenia (6).
Rygiel haka (11) pozwala końcówkę haka zaczepić o dolną część otworu pokrywy (b) i końcówka haka musi być wsunięty co najmniej 5 mm od brzegu krawędzi otworu.
Podnoszenie i osadzanie pokrywy
- Ręcznie odbezpieczyć zabezpieczenie (10) i wyciągnąć przedłużenie ramienia (2) urządzenia
- Po osadzeniu i zabezpieczeniu włożonego haka (11) w otwór pokrywy urządzenie ustawić tak aby płozy „Kangura 160” znajdowały się co najmniej na kielichu obudowy włazu.
- Sprawdzić zabezpieczenie haka
- Złapać za uchwyt(1) urządzenia i ciągnąc do siebie podnosząc pokrywę włazu (a) aż do momentu gdy urządzenie wraz z pokrywą będzie na kółkach (8)
- Za pomocą kółek (8) odwieźć pokrywę (a) na wymaganą odległość wg uznania
Krótki film z prezentacją pracy urządzenia do podnoszenia włazów i krat ściekowych można zobaczyć na stronie internetowej producenta: www.kaengurulifter.de
Schemat urządzenia do podnoszenia włazów i kratek ściekowych
Oznakowanie części urządzenia
1. Uchwyt
2. Rozciągane ramienia
3. Ramie urządzenia
4. Płoza zawieszenia haka
5. Stopa urządzenia
6. Kołyska – płoza urządzenia
7. Oś kółek
8. Kółka
9. Krawędź obudowy włazu
10. Ręczne zabezpieczenie rozciąganego ramienia
11. Wymienny hak z końcówką ryglującą
a. Pokrywa włazu
b. Otwór w pokrywie
Przedstawicielstwo w Polsce:
MABED Edward Ciesielski
PL 60-313 Poznań, ul. Grunwaldzka 160/401
tel.: +48 61 661 84 76; tel.kom.: +48 509 879 483
piątek 3 sierpnia 2007














