Nowa pompa zatapialna typu FZ.3
Pełen materiał do pobrania(6,3Mb)
Pompy o odpowiednim przelocie poprzez część hydrauliczną są szczególne predysponowane do przetłaczania mieszanin i zawiesin ciał stałych w cieczach, ścieków komunalnych oraz przemysłowych, w szczególności ścieków nieoczyszczonych i zawierających domieszki długowłókniste i ciała stałe oraz cieczy zawierających powietrze i gazy a także do pompowania szlamów surowych, szlamów zawierających osady czynne i szlamów gnilnych. Odznaczają się prostą budową i dlatego mogą być z łatwością remontowane.
Główną cechą pomp o swobodnym przepływie jest istnienie przestrzeni swobodnej (bezłopatkowej) pomiędzy ścianą kadłuba pompy a wirnikiem, która została utworzona wskutek odsunięcia wirnika w głąb kadłuba pompy. Natomiast zastosowanie wirnika kanałowego gwarantuje znacznie wyższą sprawność, przy utrzymaniu przelotu poprzez pompę na poziomie umożliwiającym pompowanie mniejszych zanieczyszczeń stałych.
Tego typu konstrukcjami są pompy do cieczy zanieczyszczonych typu FZV.3 oraz FZB.3 produkcji Hydro-Vacuum S.A. w Grudziądzu. Są to pompy odśrodkowe, posiadająca budowę monoblokową. Na wspólnym wale zabudowany jest wirnik silnika elektrycznego asynchronicznego oraz wirnik pompy.
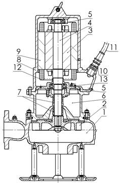
Kompletna pompa typu FZV.3 zbudowana jest z korpusu tłocznego (spirala hydrauliczna) 1 z wbudowanym wirnikiem odśrodkowym (typu Vortex) 2. Przelot utrzymany na poziomie 80 mm gwarantuje niezapychanie się pompy oraz wysoką sprawność ruchową.
Pompa typu FZB.3 wyposażona jest w wysoce sprawny wirnik kanałowy. Pompa z tego typu wirnikiem predysponowana jest do przetłaczania wody zanieczyszczonej niewielkimi cząstkami stałymi, np. piaskiem. W pompie FZB.3 "swobodny" przelot utrzymany jest na poziomie 32 mm.
| Wirnik otwarty typu Vortex pompy FZV.3 | Wirnik kanałowy pompy FZB.3 |
W pompie wirnik 2 wraz z wirnikiem silnika 3 ułożyskowany jest na wspólnym wale 4 przy pomocy dwóch zakrytych łożysk tocznych 5 wypełnionych smarem. Wał pompy uszczelniony jest od strony pompowanego medium oraz od strony komory olejowej 6 pojedynczymi czołowymi dociążonymi uszczelnieniami mechanicznymi 7 (od strony silnika stosowana jest para cierna węgiel/węglik krzemu natomiast od strony pompowanego medium parę cierną stanowią węglik krzemu/węglik krzemu).
Korpus komory olejowej 6 wypełniony jest olejem wazelinowym białym. Komora olejowa spełnia funkcję dodatkowego buforu oddzielającego część pompowa od części silnikowej. W górnej części agregatu pompowego zabudowany jest korpus silnika 8 z wbudowanym stojanem silnika asynchronicznego 9. W dolnej części korpusu silnika umieszczona jest śluza kablowa (dławnica) 10 służąca do wyprowadzenia i uszczelnienia kabla zasilającego 11. Całe przejście kablowe uszczelnione jest żywicą, co zapobiega przedostawaniu się pompowanego medium do wnętrza silnika w przypadku uszkodzenia kabla zasilającego. W celu termicznego zabezpieczenia silnika elektrycznego, w jego stojanie zabudowano czujniki termobimetalowe 12 na każdej z faz, a w dolnej części korpusu silnika zabudowano czujnik wilgotności komory silnikowej 13, zabezpieczający dodatkowo silnik przed wilgocią.
Zarówno pompa FZV.3 jak i FZB.3 napędzana jest przez energooszczędny silnik asynchroniczny. Moce silników zawierają się w zakresach od 2,2 kW do 11,0 kW, przy prędkościach obrotowych 950 obr/ min i 1450 obr/ min. Energooszczędne silniki elektryczne stosowane przy napędzie pomp FZV.3 oraz FZB.3 powstały przy współpracy z Instytutem Maszyn Elektrycznych "KOMEL" w Katowicach oraz przy wsparciu Komitetu Badań Naukowych, gdzie są tematem projektu celowego w ramach innowcyjności konstrukcji p.t. "Energooszczędne napędy pomp o swobodnym przelocie 80 mm typu FZ.3".
Pompy typu FZV.3 oraz FZB.3 przeznaczone są zarówno do samodzielnej pracy, jak również do połączenia ich z systemem np. instalacji zbiornikowych przepompowni cieczy. Wszystkie wymiary główne i przyłączeniowe tych pomp są wykonane według norm PN-EN 733 oraz PN-EN 23661 i PN-ISO 3661. Pompy są dostępne w wersji standardowej lub w wykonaniu przeciwwybuchowym, oraz spełniają wymogi ATEX. Ponadto pompy typu FZV.3 oraz FZB.3 posiadają kilka wykonań konstrukcyjnych, zależnych od sposobu chłodzenia silnika napędowego (wersja "zatapialnej" - wykonanie podstawowe lub z płaszczem chłodzącym silnik pompowanym medium , a także z silnikiem chłodzonym powietrzem - standardowy silnik kołnierzowy), oraz od miejsca montażu pompy (montaż pionowy na stopie sprzęgającej w przepompowni, montaż pionowy lub poziomy z rurociągiem ssawnym lub instalacja pompy wolnostojącej).
Podczas projektowania pomp FZV.3 oraz FZB.3 zastosowano nowoczesne metody numeryczne. Projekt wykonywany był przy pomocy środowiska programowego do modelowania przestrzennego Solid Works. Jest to narzędzie służącym do parametrycznego modelowania bryłowo - przestrzennego 3D. Daje on możliwość zaprojektowania zarówno pojedynczych części, jak i kompletnych zespołów. Solid Works jest systemem w pełni parametrycznym. Można modelować zarówno powierzchniowo jak i bryłowo, z możliwością przejścia od powierzchni do brył i odwrotnie. Charakteryzuje się bardzo przyjaznym i nowoczesnym interfejsem opartym na funkcjonalności systemu Windows.
Jest doskonałym narzędziem wspomagania projektów inżynierskich, dzięki któremu można
w znaczący sposób skrócić drogę od pomysłu do produktu finalnego.
- Zastosowanie oprogramowania modelowania przestrzennego dało także nowe olbrzymie możliwości technologiczne. Przykładem mogą być techniki szybkiego prototypowania (Rapid Prototiping), zastosowane do wykonania omodelowania odlewniczego niektórych elementów pomp do cieczy zanieczyszczonych typu FZV.3 oraz FZB.3. Jedną tego typu technik jest metoda stereolitografii. Metoda ta polega na utwardzaniu żywicy epoksydowej lub akrylowej o niskiej lepkości, wiązką światła ultrafioletowego generowanego przez laser małej mocy (max. 60 mW). Pod wpływem promieni ultrafioletowych następuje polimeryzacja kolejnych warstw żywicy. Proces ten porównać można do znanego wcześniej sposobu tworzenia modelu z naklejanych na siebie kolejno przekrojów papierowych. Po wstępnym wykonaniu elementu następuje dokończenie procesu polimeryzacji światłem ultrafioletowym w specjalnej komorze i wykańczająca obróbka powierzchni przez szlifowanie i polerowanie. W efekcie powstaje szybki prototyp wytrzymały i twardy, nadający się do różnorodnych zastosowań.
Podstawą wykonania prototypu jest trójwymiarowy model geometryczny wykonany w dowolnym systemie CAD i zapisany w formacie STL. Model ten jest poddany obróbce za pomocą specjalnego oprogramowania. Jego zadaniem jest w pierwszej kolejności sprawdzenie modelu pod kątem poprawności geometrii.
Ponadto dzięki zastosowaniu modelowania przestrzennego Solid Works oraz dodatkowego oprogramowania do symulacji i analiz kinematycznych w zakresie mechaniki Newtonowskiej oraz symulowania kolizji ciał - Visual Nastran, dokonano, w ramach współpracy Wydziałem Mechanicznym Akademii Techniczno-Rolniczej w Bydgoszczy, optymalizacji części wlotowej korpusu pompy FZV.3.
Badaniom przy pomocy oprogramowania był poddawany "swobodny" przelot pomiędzy korpusem tłocznym, a wirnikami pomp typu FZV.3. Dokonywano tego modelując kulę średnicy 80 milimetrów, gwarantującą niezapychanie się pompy podczas tłoczenia ścieków oraz wysoką niezawodność ruchową układu (dla wirnika typu Vortex), a następnie analizowano zależności kinematyczne pomiędzy modelową kulą, a elementami pompy do ścieków.
W prowadzonym badaniu sterowano kątem pochylenia części wlotowej korpusu tłocznego, nie zmieniając wymiarów średnicowych.
Zmianie nie podlegały również średnica króćca ssącego i tłocznego pompy i wynosiła ona odpowiednio 100 i 80 milimetrów (wymiary króćca ssawnego i tłocznego zgodnie z normami PN-EN 733 oraz PN-EN 23661 i PN-ISO 3661).
Zastosowanie oprogramowania do modelowania przestrzennego 3D (Solid Works) w znaczący sposób upraszcza proces zarówno projektowania nowej maszyny, Oprogramowanie tego typu eliminuje błędy mogące wystąpić między innymi podczas "tradycyjnego" modelowania konstrukcji.
Reasumując, pompy do ścieków typu FZV.3 oraz FZB.3 produkcji
Hydro-Vacuum S.A. w Grudziądzu są konstrukcją zaprojektowaną z wykorzystaniem najnowszych technologii. Gwarantuje to ich niezawodność oraz wysoką sprawność.
Hydro-Vacuum S.A.
ul. Droga Jeziorna 8
86-303 GRUDZIĄDZ
Dział Rozwoju i Wdrożeń
Specjalista Konstruktor
mgr inż. Sebastian Predel
piątek 22 kwietnia 2005














